Более чем 20-летний опыт производства профилегибочных машин
Автор:Pедактор сайта Время публикации: 2021-11-01 Происхождение:Работает
В стальных конструкциях термин «прогон» обычно относится к элементам каркаса крыши, которые проходят параллельно карнизу здания и поддерживают настил или листовое покрытие крыши. Прогоны, в свою очередь, поддерживаются стропилами или стенами.
В практике металлургической промышленности конструктивным формам для удобства краткого описания на чертежах и документации присваиваются репрезентативные обозначения:
Секции швеллера с фланцевыми ребрами жесткости или без них обычно обозначаются буквами C;
Секции швеллера без фланцевых ребер жесткости также называются U-образными;
Точечные симметричные сечения, имеющие форму буквы Z, называются Z-формами. Z-прогоны используются таким образом, чтобы обеспечить непрерывность изгиба между пролетами. Кроме того, их можно вкладывать в пакеты для транспортировки.
Многословное название относится к станку, который является необходимым оборудованием для изготовления кровельных и стальных каркасных конструкций.
Профилегибочная машина CZ Purlin состоит из таких компонентов, как направляющая подачи, разматыватель, система профилирования рулонов, гидравлический режущий блок, система управления, выходной стол и устройство ручной резки. Профилегибочная машина CZ Purlin.
Раньше рисунок роликов машины для профилирования прогонов приходилось менять вручную, чтобы произвести требуемый прогон. Но теперь машина для производства профилей Zhongyuan CZ Purlin может автоматически менять рисунок роликов всего за несколько секунд, экономя трудозатраты и время.
Удобный переход от рисунка C к шаблону Z делает машину экономичным выбором, поскольку вам не придется покупать две машины, каждая из которых имеет только один рисунок валков. Кроме того, автомобильный процесс эффективно позволяет избежать ошибок, вызванных вручную, обеспечивая стабильную и точную работу.
Профилегибочная машина Zhongyuan CZ Purlin управляется ПЛК и вспомогательными компонентами. Система управления имеет интерфейс взаимодействия человека с компьютером, который позволяет операторам настраивать параметры машины для изменения рисунка роликов. Этот шаг занимает всего несколько секунд. Передовая система управления помогает повысить эффективность производства.
Леса Поручни Лестницы


Крыши Двери и Окна

Направляющие сиденья в автомобиле Дверные рамы автомобиля

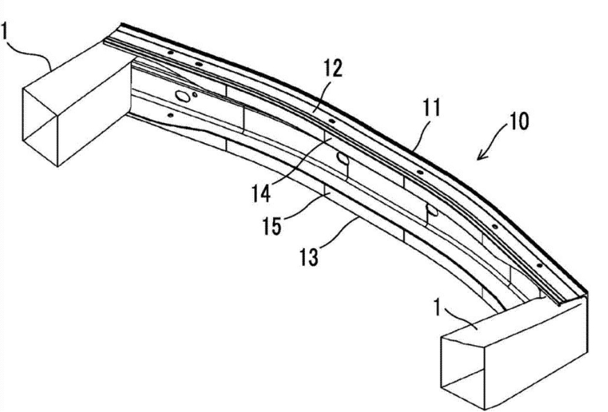
Усилители бампера Радиатор

Основной корпус и крылья самолета

Направляющие сиденья в самолете
Некоторые компоненты самолета
Copyright © 2003-2021 Машиностроительный завод Ханчжоу Чжунюань. Все права защищены | XML | -карта сайта